导语:“李子柒事件”落下帷幕,微念却已悄然转型螺蛳粉实体。曾经的网红MCN,还能续写现象级爆款神话吗?
近日,“出走”500多天的李子柒终于迎来回归时刻。12月27日,随着微念官方微信公众号发布和解公告,微念与李子柒的品牌之争落下帷幕。
据企查查显示,四川子柒文化传播有限公司发生多项工商变更。
杭州微念品牌管理有限公司持股比例由51%减至1%,微念科技创始人刘同明退出,蒲倩云成为新任监事。李子柒持股比例攀升至99%,成为公司的实际控制人。

四川子柒文化传播有限公司工商信息变更,来源:企查查
正式起诉MCN机构微念1年2个月之后,这场MCN机构与顶级网红的博弈大戏,看似是李子柒赢了。
但其实,微念已不是那个依赖“李子柒”IP吸金的MCN公司,而是悄然转型去做了实体。在官网的表述中,微念将自己定义为“成长中的新消费品牌公司”。
李子柒出走的一年多中,涉诉中的微念并没闲着,推出了新品牌臭宝、投资柳螺香、布局产业链。微念正在下一盘螺蛳粉界的大棋。
微念在螺蛳粉行业的一系列动作,离不开“李子柒事件”的“教育”。从网红MCN的蜜月期,闹到打官司分财产的局面,恰恰是因为之前李子柒IP打造得太成功。
但是,MCN和单一IP捆绑太厉害,分手是必然。或许,若当初双方合作,打的是微念IP而不是李子柒IP,今天就不会走到这般田地。
微念走出舒适区、寻求突破,勇气可嘉。但MCN转型做实体业务,是一件不容易的事,且风险很高。
李子柒停更后,微念的“螺蛳粉布局”
李子柒的品牌商业化收入里,螺蛳粉是其中一个重要的存在。
在李子柒与微念合作的高光时刻,2020年李子柒品牌销售额16亿元,仅螺蛳粉的销售额就突破了5亿元。
华兴资本(1911.HK)、华映资本、众源资本等等,一众风投被吸引而来,争相砸钱。站在李子柒风口上的微念,估值更是达到了50亿元。
但随着李子柒和微念陷入纠纷,李子柒系列产品销量直线下滑。2022年上半年,李子柒品牌在天猫总销量为1.7亿元,较去年同期下滑了51%。微念的股东字节跳动也启动了退出流程。
据《北京日报》报道,相关人士透露,字节跳动当初投资微念,还是看好李子柒本人。故而“李子柒事件”发生后,资金开始撤退。
李子柒,来源:李子柒微博
虽然这15个月,李子柒暂停更新,但微念没有停下动作。尝到“单一网红依赖症”后果的微念,大概已经意识到,注重前端的IP不如在后端供应链或经营实体上下功夫。
毕竟前者付出再多,也有可能是“为他人做嫁衣”,唯有握在手里的才最踏实。
微念布局的第一步,是孵化螺蛳粉新品牌臭宝。但新品牌的发展路线跟“李子柒”螺蛳粉很是不同。
微念正式抛弃了之前先打造个人IP、成功后再引流变现、商业化发展品牌的路子。
臭宝IP采用了无真人卡通形象,运营方面则直接通过线下铺设经销渠道、投资供应链企业、入驻电商平台、合作大量网红达人带货等方法打造新品牌。
臭宝壁纸,来源:臭宝螺蛳粉小红书账号
饶有意味的是,微念在孵化新品牌臭宝的过程中,似乎有意弱化微念与臭宝的关系。臭宝的宣传词,强调最多的反而是“柳州螺蛳粉”。
来源:臭宝螺蛳粉小红书官方账号
“高举高打”进入螺蛳粉赛道,微念很有头部企业的姿态。臭宝目前的发展路径,完全是“不差钱”的玩法。
线上,微念利用自身优势,合作KOL带货。臭宝合作的带货主播中,不乏“顶流”。
数据显示,仅今年前7个月,臭宝螺蛳粉就与超百位抖音主播合作,其中包含“交个朋友”这样的头部直播间,也有戚薇等明星主播。
横跨饮料界,臭宝联合王老吉、伊利(600887.SH)臻浓牛奶等品牌,在节日期间搞抽奖活动。为了俘获年轻人的心,臭宝还跟北京WB王者荣耀战队跨界联名,推出螺蛳粉礼包。
来源:臭宝螺蛳粉小红书官方账号
在线下渠道方面,臭宝入驻山姆会员店,也覆盖了其他大型商超和中小门店。从“烧起螺蛳粉线下第一把火”的宣传词中,微念冲击线下的野心,昭然若揭。
微念重拳出击螺蛳粉的动作,除了新品牌臭宝,还有投资老品牌柳螺香。目前,微念的子公司广西微念实业有限公司持股柳螺香比例达10%。
柳螺香并非只是个IP,而是坐拥1500家线下实体店的线下连锁餐饮企业。目前,柳螺香的实体店覆盖全国27个省份的200多个城市,并预计2023年开到5000家实体店。
微念投资柳螺香,或许是想在螺蛳粉界深耕线下,以实现弯道超车。
但想超车,还得有重资产布局的实力。
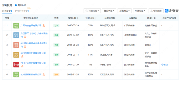
企查查显示,微念投资了广西兴柳食品有限公司,持股比例高达70%。这家公司目前是臭宝螺蛳粉的主要加工厂,同时也是李子柒螺蛳粉三家代工厂其中之一。

微念对外投资,来源:企查查
此外,微念不仅在柳州的螺蛳粉产业园自建了工厂,还在探索如何打造螺蛳粉智能工厂。
据微念相关负责人表示,未来微念将“持续投资螺蛳粉相关的品牌以及供应链上下游,来搭建螺蛳粉产融平台。”
此次输了官司,但从螺蛳粉产业布局来看,似乎微念早就做好了与“李子柒”品牌切割的准备。
李子柒时代,先有KOL后商业化。找螺蛳粉代工的模式,本质上是产业链配合前端营销。而现在微念的模式,是先做螺蛳粉,再开发KOL,也就是说,是KOL配合自己家的产业。
微念转型进军螺蛳粉实体产业,如果成功,可将之拓展到螺蛳粉之外其他品类。但MCN做实体,风险似乎不小。更需要考虑的问题是,螺蛳粉是个神仙打破头的赛道。
千亿螺蛳粉市场,并非好做的生意
螺蛳粉市场规模即将迈向千亿,但很奇怪,这里既没有上市公司,也鲜有知名一级市场融资案例。
同样处于预制菜赛道的其他品牌,无论是自嗨锅、米粉类还是速食面类,都曾创造过资本神话。但视角切换到螺蛳粉赛道,资本的态度却是慎之又慎。
直到2022年12月初,“人类快乐”获得了数千万元天使轮投资,才一举打破了螺蛳粉品牌融资数为0的尴尬现状。
表面看,螺蛳粉是个大热门。
螺蛳粉是粉面品类中年均复合增长率的佼佼者,即便在疫情笼罩的2021年,柳州螺蛳粉的全国实体店营业额,仍然实现了75.25%的增长,累计达到206.8亿元。
但与火热的螺蛳粉消费市场矛盾的是,螺蛳粉存在“强品类弱品牌”的窘境,也没有出现让消费者印象深刻的连锁门店品牌。
究其原因是,行业整体门槛不高,天生更加内卷。
其一,低门槛,产品高度同质化。产品代工及研发成本不高,差异化低,同质化明显,单个品牌较难实现较高的溢价。
低固定成本对应较低的经营杠杆,即便是新品牌,也可以以轻资产模式快速切入此赛道。
其二,上游分散下游强势,做好螺蛳粉品牌,是一门难经营、难获高利润的生意。螺蛳粉的上游为各类调味料和包装材料,供应链高度分散,原材料对企业的毛利影响较大。
从下游渠道来看,无论是线下渠道商还是线上电商服务费,费用都较高,这导致最后能分给品牌方的利润被严重挤兑。
近些年,螺蛳粉频频出圈,带动行业产生了一些新兴品牌。但从实际情况来看,在消费者购买过程中,更注重的还是螺蛳粉品类,而不会纠结于某个固定品牌。
螺蛳粉企业若想写出资本神话,隐形门槛很高。
从投资维度来看,螺蛳粉企业不仅上市难,融资也难。一方面,产品类型和竞争格局没有得以裂变升级时,螺蛳粉市场就已进入内卷加剧的存量竞争。
另一方面,螺蛳粉是速食品类中的明星单品,但想仅凭单品撑起一家上市公司的业绩,难度可以类比仍在致力于打造第二个爆品的卫龙(9985.HK)。
MCN做实体,成功可能性有多大?
MCN出身的公司,如何参与工厂具体的业务经营?如何学习供应链管理知识、掌控从门店到链条中后端复杂的数据流动?
这不仅是对于MCN公司、甚至是每一个餐饮品牌门店时刻面临的难题。
想做好实体企业是个极其漫长的事情。对于跨界的微念而言,需要积累经营,需要打磨内功,也需要行业风口的加持。就目前的情况而言,想再打造出一个现象级的“李子柒”品牌,知易行难。
此外,螺蛳粉市场极其分散。大多数情况下,想成功出圈,最终还是要靠前端的出彩营销,类比同样历史悠久且极度分散的茶叶市场,为人熟知的品牌也仅有小罐茶、八马茶叶、天福茗茶(6868.HK)等。
从这一维度而言,微念打造的螺蛳粉实体的“闭环落地”,很大可能仍难以绕开KOL带货之路。
从臭宝宣传路径来看,微念仍然选择了KOL造势。被李子柒“深刻教育”的微念,在KOL培养上也势必慎之又慎,“分散化培养”成为不得已的选择。
明星直播间、测评类、美食类博主齐上线,微念正在使用资源积累自己的流量,把粉丝集中到公司平台上。
公域炒的再火,最后还是要看私域的实际转化。这堂课,微念在“李子柒事件”上已经透彻领悟过了。
纵观同样位于速食品赛道的品牌,近些年已经跑出不少明星产品,比如自热火锅品牌自嗨锅完成了C++轮融资,总融资额破2亿元。对比而言,MCN出身的微念想打造螺蛳粉神话,难度极高。
盘点可能的出路,微念或许可以从全产业链、或者全球化维度来实现突围。
押注螺蛳粉全产业布局,是一个投入极高的方向。想培养一家成功的新消费品公司,需要烧钱换增长。
某微念投资人曾向Tech星球表示,微念虽然营收数字很高,但实际并不怎么盈利。
眼下,微念旗下各个消费品牌都需要源源不断的资金支持。
过去一年中,微念没有公开发布新的融资消息,因为李子柒事件,新消费品牌的形象也受到影响。新一轮融资能否超过上一轮的50亿估值,仍是未知数。
另一方面,随着品牌出海成为大势所趋,能讲“全球故事”的中国企业,或许是另一个突围方向。而螺蛳粉早就显现了出海端倪,2022年双十一,北美地区售出了近400吨袋装螺蛳粉。
相比在出海方面有实际成果的企业,微念动作慢了一拍。2021年底,微念才成立出海事业部,对外开始招聘文化产业研究员、内容策划、品牌营销等等。
品牌出海是一个耗时耗力的过程,市场上不乏砸下重金出海又铩羽而归的例子。
抛开现象级李子柒品牌,微念想重新打造出海品牌,如何打通海外市场?如何赢得海外用户欢迎?如何做好物流供应链?如何在较长的收获期中保证稳定的资金链?一系列难题,又将是微念面临的另一组考验。
李子柒和微念的纷争落幕,李子柒本人赢得很风光。但KOL与MCN之争,将给同类型的合作敲响了警钟,业内恐怕再难出现下一个专情供养“李子柒”品牌的MCN。
对此刻的微念,开辟新路走出现象级的“李子柒”历史,也是一道新难题。
